La vuelta del motor rotativo de Mazda está confirmada, pero como opción para su próximo coche eléctrico

La vuelta del motor rotativo de Mazda está confirmada, pero como opción para su próximo coche eléctrico
19 comentarios Facebook Twitter Flipboard E-mail
jesus-martin

Jesús Martín

El icónico motor rotativo de Mazda cumplió en 2017 sus bodas de oro, 50 años de historia que por desgracia coincidieron con el fallecimiento de su creador, Kenichi Yamamoto a finales del año pasado. Ahora que estamos acabando los primeros 20 años del siglo XXI parece que su regreso cada vez está más cerca, especialmente después de que la propia marca haya confirmado su utilización en un futuro próximo.

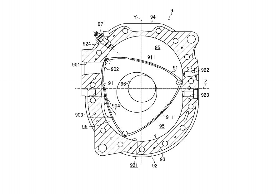
Durante años se lleva rumoreando una vuelta de estos motores tan característicos, incluso la firma japonesa patentó un diseño para utilizarlo como extensor de autonomía para motores eléctricos. Ahora parece que el misterio se va desvelando, puesto que Martijn ten Brink (vice presidente de ventas y servicio al cliente de Mazda Europa) ha declarado al portal ZerAuto.nl que una nueva generación de rotativos está en camino.

"Tendremos un coche eléctrico con un motor rotativo opcional"

Mazda patenta un motor rotativo... como generador para un futuro eléctrico de autonomía extendida

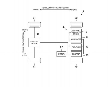
Dentro del programa Zoom-Zoom 2030, Mazda pretende crear un coche 100% eléctrico que debería llegar en algún momento del año próximo. No hay más datos sobre cómo será el vehículo de cero emisiones de Mazda, pero Brink ha asegurado que habrá disponible una opción de rango extendido equipada con un completamente nuevo motor Wankel.

Según el propio Brink no será un coche que necesite el apoyo de un motor térmico puesto que sus clientes "diariamente no suelen hacer trayectos de más de 60 kilómetros diarios, pero esta opción servirá para disipar cualquier duda entre los consumidores".

Mazda Rx Vision Concept

El bloque será de una sola unidad rotativa y no irá equipado con sobrealimentación alguna, ya que su función será únicamente la de producir electricidad para recargar las baterías sin necesitar elevados niveles de revoluciones. Será compacto, "del tamaño de una caja de zapatos", y estará colocado muy bajo para mantener el centro de gravedad próximo al suelo.

Brink promete que su funcionamiento será extremadamente suave, libre de vibraciones, y los conductores no serán capaces de notar cuándo se pone en marcha. Y es que en Mazda todavía creen que el motor de combustión tiene mucho camino por recorrer: "Dentro de 15 ó 25 años, los motores de explosión seguirán siendo una pieza importante de los coches, ya sea en híbridos o enchufables".

El primer modelo con motor rotativo de Mazda cumple 50 años: repasamos su historia

Además, y fieles a su filosofía, en Mazda creen que son capaces de seguir mejorando las tecnologías de baja fricción para conseguir eficiencias térmicas de hasta el 56%, dejando en ridículo el anuncio de Toyota y su nuevo motor con un 40% de eficiencia. No en vano, en Mazda serán los primeros en ofrecer un motor de gasolina sin bujías, con detonaciones por compresión que funciona de manera hipnótica, que estrenará el próximo Mazda3, o el prometedor Skyactive-3 que promete ser tan limpio como un eléctrico.

Ahora podemos seguir soñando con un hipotético Mazda RX-9, aunque seguramente y por desgracia para los más quemados no será una configuración que nos deleite con los salvajes aullidos de los motores rotativos utilizados en los míticos RX-7.

Comentarios cerrados
Inicio