Mazda patenta un motor rotativo... como generador para un futuro eléctrico de autonomía extendida

Mazda patenta un motor rotativo... como generador para un futuro eléctrico de autonomía extendida
8 comentarios Facebook Twitter Flipboard E-mail
javier-alvarez

Javier Álvarez

Por todos es conocida la predilección de mazda por los motores rotativos o Wankel, con los que llegó incluso a competir en carreras de resistencia, coronándose en el año 1991 como la primera marca japonesa en ganar las 24 Horas de Le Mans, precisamente con el Mazda 787B, que montaba un motor de este tipo (¡y qué sonido!). Ahora, Mazda quiere revirir el rotativo, aunque quizá no de la forma que esperabas.

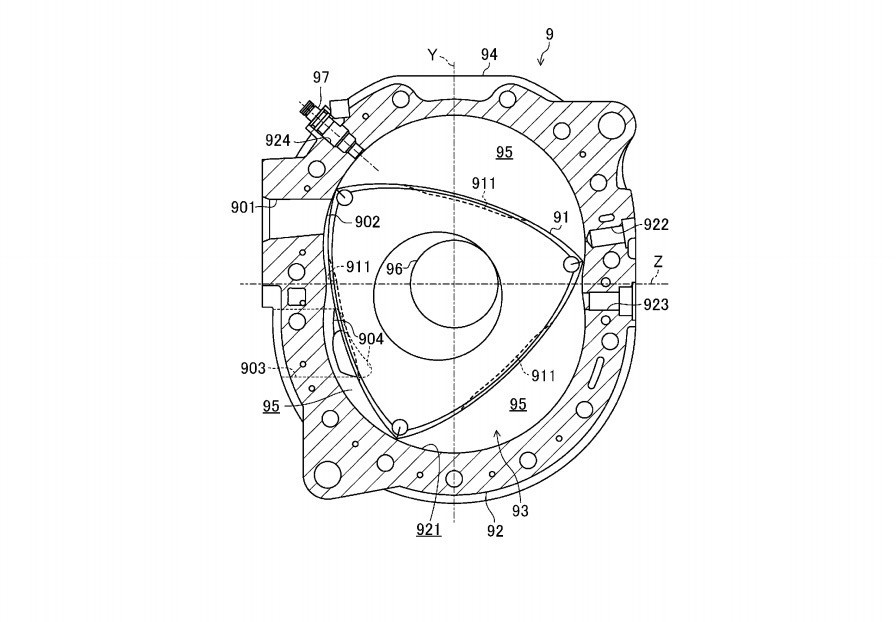
El último ejemplo de un Mazda de calle con motor Wankel fue el Mazda RX-8 (su producción concluyó en Japón en 2012), y de cuyo sucesor se ha hablado en múltiples ocasiones, si bien no se ha llegado aún a hacer realidad. La idea del fabricante nipón, que acaba de patentar un motor rotativo en Estados Unidos, es utilizarlo a modo de generador en modelos eléctricos de autonomía extendida.

Según los documentos de patente, el modelo Mazda sería un tracción delantera con un motor eléctrico, y utilizaría el motor rotativo, de baja cilindrada y ubicado bajo el maletero, únicamente como generador para recargar la batería -ubicada bajo el piso del habitáculo-. La idea es la misma que en un BMW i3 REX, aunque en el caso del alemán el generador es un motor convencional (1.5 litros de tres cilindros). Audi, por ejemplo, ya coqueteó con la idea de usar un motor rotativo como generador, aunque finalmente no lo llevó a producción.

Mazda patenta un motor rotativo... como generador para un futuro eléctrico de autonomía extendida
Mazda patenta un motor rotativo... como generador para un futuro eléctrico de autonomía extendida

La segunda patente pretende introducir un sistema de start/stop para este bloque rotativo de Mazda, que sí sería la primera aplicación de este tipo en un motor Wankel, cuyo proceso de encendido es bastante particular. De momento, habrá que esperar a que Mazda ofrezca más detalles de manera oficial.

Fuente | Free Patents Online

Comentarios cerrados
Inicio