La extraña patente del motor biturbo y compresor eléctrico de Mazda...¿para el MX-5?

La extraña patente del motor biturbo y compresor eléctrico de Mazda...¿para el MX-5?
4 comentarios Facebook Twitter Flipboard E-mail
daniel-murias

Daniel Murias

A principios de mes, Mazda confirmó su intención de producir a partir de 2019 un motor de gasolina con encendido sin bujías, el HCCI (por “Homogeneous-Charge Compression Ignition"). Mazda sería así el primer fabricante en proponer esta tecnología en un coche de serie. Por otra parte, no es la única tecnología de vanguardia en la que está trabajando la firma de Hiroshima.

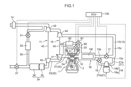
Así, Mazda pidió la patente en la oficina estadounidense de patentes para un motor que combina la sobrealimentación por dos turbos y un compresor eléctrico. Los diseños sometidos hacen referencia a un motor de gasolina con dos turbos, es decir, accionados por los gases de escape, en paralelo y un compresor volumétrico animado por eléctricidad y no por el propio motor como es el caso en un compresor tradicional.

Mazda Patente Biturbo 01

Esta combinación no es nueva, varias marcas trabajan en su desarrolla actualmente, como Audi y Volvo. En el caso de Volvo, el motor de 450 CV -todavía en fase de prototipo- acciona el compresor eléctrico gracias a un sistema de 48 voltios (una tecnología destinada a generalizarse en toda la industria). Sin embargo, Mazda no necesitaría pasarse a los 48 voltios, como explicaba Bozi Tatarevic (quién dio con la patente) a Road & Track, ya que podría usar el sistema i-Loop que ya emplean muchos de sus modelos en diferentes versiones, como el Mazda6 o incluso el pequeño MX-5.

El sistema i-Loop de Mazda es, de forma muy resumida, un condensador que almacena la energía cinética de las frenadas y alimenta los sistemas auxiliares del coche (climatizador, car audio, etc) para reducir el consumo de combustible. Aquí, en lugar de alimentar el climatizador o el GPS, el i-Loop podría accionar el compresor. Es más, con un condensador de mayor capacidad podría seguir alimentando los sistemas auxiliares al mismo tiempo que el compresor.

Mazda Patente Biturbo 04

Por último, lo más interesante para los que nos gusta conducir, es que la patente hace referencia explícita a un coche de tracción trasera... ¿Podría aplicarse al Mazda MX-5? De momento, es sólo una patente más de las cientos que las marcas registran cada año por si acaso. Puede que nunca lo veamos en un coche de producción y menos en el MX-5, ni ampoco sabemos si está relacionado con el motor HCCI (Mazda confirmó que sería un motor sobrealimentado).

Lo único que tenemos claro es que Mazda sigue investigando siguiendo su propio camino, como lo hacen Volvo o Subaru, y en sí eso ya es una buena noticia para la industria y la creatividad.

Comentarios cerrados
Inicio