Patentado motor de combustión interna de tipo magnético

Patentado motor de combustión interna de tipo magnético
Facebook Twitter Flipboard E-mail
javier-costas

Javier Costas

A lo largo del pasado viernes se hizo pública una patente de un motor de combustión interna alternativo, diseñado por Searete LLC. Entre la gente que ha trabajado en él encontramos a un tal William H. Gates III (más conocido con Bill Gates o Billy Puertas) y Nathan Myhrvold, fundadores de Microsoft.

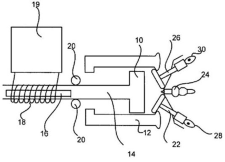
La patente describe un motor que funciona con un combustible, que no se especifica, convierte energía química en energía eléctrica. ¿Cómo? Los que estén mínimamente puestos en física lo entenderán en el acto. Si hacemos que un cuerpo imantado atraviese un solenoide con una determinada velocidad, conseguimos tensión eléctrica.

El movimiento lineal alternativo del pistón conseguiría producir electricidad de forma instantánea, pues no hay un mecanismo autoinductor (que suavizaría la entrega de energía). Una explosión del combustible mediante un dispositivo de ignición, como puede ser una bujía, empuja al pistón en sentido contrario a la culata.

Motor magnetico

Cuando el pistón pasa por dentro del solenoide (vamos, el rizo que cubre el cilindro), genera energía. Cuando está alejado de la culata, será repelido por magnetismo, por eso de que los polos del mismo signo se repelen. Y así, sucesivamente. Este motor tiene muchísimas piezas mecánicas menos, lo cual será sinónimo de un impresionante rendimiento térmico y sin alternador adicional. Un motor Otto no supera el 40%, el resto se desperdicia.

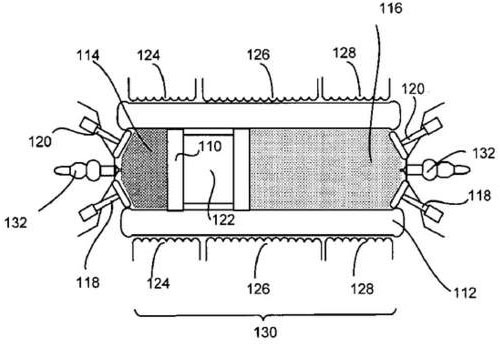
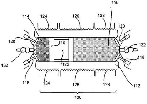
La patente describe tres tipos de motores: normal, pistón libre y dos pistones opuestos. La cilindrada o número de cilindros dependería de la tensión eléctrica necesaria para alimentar motores eléctricos. Esto es, el motor no tendría una conexión mecánica de las ruedas, sería un generador mucho más eficiente que la combinación de motor térmico a las ruedas mediante transmisión mecánica.

Si algún fabricante de automóviles utiliza la idea, es decir, paga a sus creadores, estos se pudrirán de dinero. Se podrá alargar un poco más la vida del motor de combustión interna, aunque cierto es que podría funcionar con otros combustibles que no sean gasolina, como bioetanol. Lo que parece casi seguro es que no funcionaría con gasóleo, al menos con este diseño.

¿Volverá Gates a hacer historia? En su momento contribuyó a revolucionar el concepto de la informática doméstica, pero como contribuya a revolucionar la combustión interna, que mueve la práctica totalidad de automóviles del Mundo, será aún más conocido en los libros.

Vía | Tom’s Hardware
Fuente | Oficina de patentes de Estados Unidos

Comentarios cerrados
Inicio