Porsche patenta otra forma de utilizar la electricidad: ¡en el turbo de sus coches!

Porsche 911 Turbo
2 comentarios Facebook Twitter Flipboard E-mail
diego-garcia-garcia

Diego García García

Editor
diego-garcia-garcia

Diego García García

Editor

Para que un turbocompresor realice su función de elevar la cantidad de aire que entra al motor, necesita girar sus aspas con una determinada fuerza. Esa fuerza suele proceder de los gases de escape, lo cual produce un cierto retardo en la respuesta cuando aceleramos a fondo.

¿Pero y si ese retardo no existiera? ¿Y si fuera posible obtener todo el empuje desde el primer momento? Eso es lo que Porsche quiere conseguir con el turbo eléctrico que acaba de patentar.

Según ha informado el medio estadounidense CarBuzz, la firma de Stuttgart ha registrado en aquel país una idea que busca extraer aún más prestaciones de este tipo de aspiración, al tiempo que mejora su eficiencia de cara a las emisiones de CO2 y el consumo de combustible.

Una curiosa mezcla de conceptos

Porsche Turbo Eléctrico Foto: CarBuzz

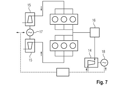
De una manera vagamente similar a los motores actuales de Fórmula 1, Porsche separa físicamente el turbo en dos mitades. Por un lado la turbina en el extremo del escape se ve reemplazada por dos más pequeñas, que aprovechan la fuerza de los gases expulsados por el motor para dar corriente a un generador.

Dicho generador es uno de los componentes innovadores del sistema, y se encarga de alimentar con electricidad un compresor que -a su vez- es la otra mitad del turbo que acelera la entrada del aire desde la admisión.

Porsche Turbo Eléctrico Foto: CarBuzz

Entre medias, una válvula permanece cerrada mientras el motor gira a bajas revoluciones a fin de maximizar el aprovechamiento de la energía. Conforme el conductor acelera, puede abrirse a altas revoluciones para aliviar la presión del circuito y mantenerla en su punto óptimo.

Como la propia Porsche sugiere en el texto de la patente, esto también posibilita obtener elevadas cifras de potencia con presiones del turbo mucho más bajas que de costumbre.

Por el momento, Porsche no ha desvelado si esta patente terminará por convertirse en una realidad aplicada a sus próximos lanzamientos. Pero ya tiene todo registrado 'por si acaso'. Así que no sería tampoco extraño encontrar un sistema así bajo el capó trasero del futuro 911 Turbo.

Foto | CarBuzz

En Motorpasión | De Studebaker al Opel Zafira, los coches que quizá no sabías que eran Porsche

Comentarios cerrados
Inicio