Mazda ha patentado el deportivo híbrido más raro que hemos visto: un motor rotativo, tres motores eléctricos y baterías extraíbles

Mazda Rx 0
12 comentarios Facebook Twitter Flipboard E-mail
alvaro-ruiz

Álvaro Ruiz

Mazda ya ha recuperado el motor rotativo con el Mazda MX-30 R-EV, pero la marca japonesa tiene planes más ambiciosos para el motor de tipo Wankel. Desde hace mucho tiempo, su objetivo es lanzar un nuevo deportivo con motor rotativo.

Las últimas patentes registradas por los de Hiroshima sugieren que ese modelo está más cerca que nunca de ser realidad. Sería híbrido, tendría tracción total y baterías extraíbles.

No se trataría del próximo Mazda MX-5, sino del sucesor del RX-8

Mazda Rx 8 El Mazda RX-8 fue el último deportivo de Mazda con motor rotativo, dejó de fabricarse en 2012.

Mazda lleva mucho tiempo dándole vueltas a lanzar un nuevo deportivo con motor rotativo que recoja el testigo de los Mazda RX-7 y Mazda RX-8, los últimos modelos de alto rendimiento de la marca japonesa con una mecánica de tipo Wankel.

Después de muchos años sin incorporar un propulsor de este tipo en sus coches, los de Hiroshima han utilizado uno en el Mazda MX-30 R-EV. Es un paso adelante para recuperar su característico motor rotativo, pero no es suficiente porque no sirve para impulsar el coche, simplemente actúa como generador, puesto que el MX-30 R-EV es un eléctrico de rango extendido.

Sin embargo, en el hipotético deportivo con motor rotativo en el que estaría trabajando Mazda, el motor rotativo serviría para mover el coche. Eso sí, no estaría solo y contaría con la ayuda de tres motores eléctricos.

Uspto Mazda 0

Mazda lo tiene tan claro que ya tiene una patente con esta configuración mecánica registrada en la Oficina de patentes y marcas registradas de Estados Unidos (USPTO). Dio con ella hace unas semanas The Drive y el mismo medio ha descubierto ahora otra patente de Mazda en la que aparecen unas baterías intercambiables que formarían parte de este sistema.

Estas patentes no son la confirmación del lanzamiento de un nuevo deportivo de Mazda, ni siquiera de un posible prototipo. La marca las ha registrado, como se registran tantas otras patentes cada día, pero pueden utilizarse o caer en el olvido. Simplemente dejan una puerta abierta al esperado deportivo con motor rotativo de Mazda que llevamos tanto tiempo esperando.

¿Podría ser el próximo Mazda MX-5? Pues bien, aunque parece que la quinta generación del roadster japonés estará electrificada, no sería de la forma que sugieren las patentes. El sistema híbrido que muestran estos documentos necesitaría espacio, por lo que encajaría mejor en un coche más grande que el MX-5. Puede que en un Mazda RX-9, si es que Mazda continúa con esa saga. Pero todo son conjeturas, por ahora.

Uspto Mazda 1

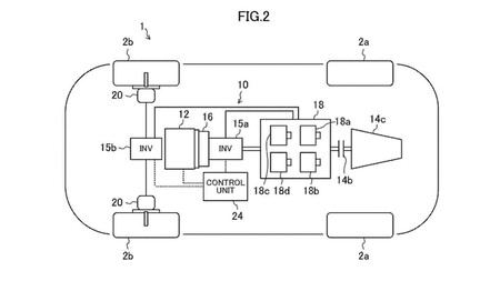
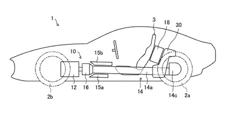
Los dibujos que aparecen en la patente muestran un coche biplaza con silueta deportiva que perfectamente podría encajar con el sucesor del RX-8. El motor rotativo estaría situado sobre el eje trasero, mientras que delante llevaría otros tres motores eléctricos, uno en cada rueda y un tercero por detrás del eje delantero, colocado en posición central.

Este coche tendría, por tanto, tracción total. El motor eléctrico que está colocado en posición central sería síncrono de imanes permanentes y desarrollaría 25 kW (34 CV), mientras que los dos situados en cada rueda serían de inducción (asíncronos) y entregarían 17 kW (23 CV) cada uno.

En total, serían unos 80 CV de potencia eléctrica que se sumarían a la potencia, todavía indeterminada, del motor rotativo. Combinando un motor síncrono con otros dos asíncronos, Mazda conseguiría una curva de potencia eléctrica distinta a la de otros coches híbridos, menos instantánea y más agradable desde el punto de vista de la conducción deportiva.

De alimentar la parte eléctrica se encargaría un conjunto de baterías que descansan detrás de la cabina. Según The Drive habría cuatro módulos de bajo voltaje y unos inversores se encargarían de incrementar el voltaje. Esta red eléctrica sería capaz de trabajar a doble voltaje (48V y 96V), en función del rendimiento que se demande.

Mazda Rx 1 La última vez que Mazda habló de deportivos con motor rotativos fue con el Mazda RX-Vision GT3 Concept creado para el videjuego Gran Turismo.

De esos cuatro módulos, The Drive señala que dos podrían ser intercambiables, por lo que podrían extraerse del coche, dado que podrían manipularse y no serían peligrosos gracias a su bajo voltaje.

¿Qué se conseguiría sacando estas baterías? Lo cierto es que no es fácil encontrar una respuesta. Estos módulos extraíbles serían similares a las baterías extraíbles de una moto que se pueden llevar a casa para recargar "en remoto".

Si el deportivo de la patente fuese híbrido enchufable, dos de los cuatro módulos de la batería podrían recargarse de casa, sin necesidad de depender de un punto de carga.

O bien cambiarlas por otras que estén cargadas en una estación de intercambio de baterías. Por otro lado, las baterías no deberían de ser muy grandes para manipularse de forma sencilla y unas baterías pequeñas no ofrecerían mucha autonomía.

Mazda Rx 7 Uno de los deportivos con motor rotativo más ilustres de Mazda es la última generación del RX-7.

Otra posibilidad es que fuese híbrido convencional y que las baterías pudieran extraerse para ahorrar peso. En el día a día sería suficiente con dos de los cuatro módulos, pero existiría la posibilidad de añadir los otros dos para aumentar el rendimiento.

Una tercera opción es que este sistema permita cambiar las baterías de forma sencilla cuando se deterioran. Muy rápido y sin necesidad de reparaciones costosas. En línea con la nueva normativa de la Unión Europea.

Lo que está claro es que no es nada fácil entender el deportivo híbrido con motor rotativo en el que podría estar trabajando Mazda. Al menos, gracias a estas patentes sabemos que la firma nipona sigue pensando en un deportivo con motor rotativo. Veremos si se hace realidad y, sobre todo, con qué tecnología llega, si es que llega.

Comentarios cerrados
Inicio