Mazda vuelve a ponernos los dientes largos con un deportivo con motor rotativo, a su manera

Mazda Aper
19 comentarios Facebook Twitter Flipboard E-mail
irene-mendoza

Irene Mendoza

Aunque la solicitó en junio de 2021, Mazda acaba de obtener la patente de un sistema de propulsión híbrido con motor rotativo que podríamos ver muy pronto en un nuevo modelo de producción. Más concretamente, en un deportivo híbrido.

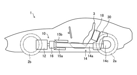
Según el documento, en esencia esta tecnología (que en la marca denominan ‘XEV’) se compone de un motor de combustión, uno eléctrico principal y otros dos motores que impulsan las dos ruedas delanteras. Además, utiliza un exclusivo sistema de batería de doble voltaje que, según Mazda, ahorra peso al tiempo que permite elevados picos de potencia.

Una seña de identidad de la marca reconvertida a accesorio

Patente 1

Pese a que el inventor del prodigioso motor rotativo fue el Dr. Felix Wankel, a lo largo de su historia, Mazda lo ha convertido en una de sus señas de identidad gracias al trabajo de Kenichi Yamamoto.

Sin embargo, debido a las normas de emisiones cada vez más duras, desde que dejó de producirse el precioso RX-8 en junio de 2012 (aunque en Europa, nos dejó en 2010) no hemos vuelto a ver un motor rotativo en un Mazda. Eso sí, la marca lleva casi una década trabajando en un motor rotativo como generador para un eléctrico.

Este podría ser un escaparate de su tecnología que unirá su pasado y el futuro electrificado que nos espera. Y es que, para 2030 todos los coches de la marca serán electrificados: el 25 % completamente eléctricos y el 75 % restante dispondrá de algún tipo de electrificación.

Ahora podríamos estar más cerca que nunca de conocer qué nos depara la marca de Hiroshima, pues aunque no es la primera vez que Mazda presenta una patente de este tipo en los últimos años, sí es una de las más específicas.

Entre otros detalles, se especifica que "el motor rotativo está situado en la parte delantera del vehículo" (no se especifica número de rotores), además de utilizar motores de 17 kW (23 CV) para impulsar las ruedas delanteras y un motor síncrono de imanes permanentes de 25 kW (36 CV) montado detrás del motor principal.

Patente 2

No es habitual ver una tecnología que mezcle motores eléctricos tan distintos (que además entregan el par de forma ligeramente diferente), pero desde luego es interesante, aunque algo compleja. Con la máxima preocupación por no hacer un sistema demasiado pesado, además de que el peso de los motores de las ruedas es reducido, en la patente se habla de un sistema de batería muy particular.

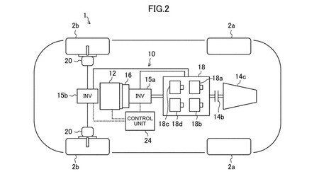
Esta utiliza cuatro módulos de 48 voltios montados en un pack detrás del asiento del conductor. A velocidad de crucero, estos sistemas actúan como una batería normal de 48 voltios y pueden suministrar una potencia moderada a las ruedas con una corriente razonable.

Cuando se solicita potencia máxima, “el sistema utiliza interruptores eléctricos o MOSFET, para reconfigurar instantáneamente dos pares de celdas de batería para que funcionen a 96 voltios”.

Por tanto, la potencia máxima puede obtenerse con menos corriente y, al mismo tiempo, utilizando menos conexiones de alta tensión. El fabricante afirma que además de ahorrar peso “el sistema híbrido será más seguro y fácil de mantener”.

Miata

Así, a partir de esta tecnología Mazda podrá explorar varias opciones, desde una hibridación eléctrica a lo Toyota Prius en la próxima generación del Mazda Mx-5 hasta la llegada de un híbrido en serie, también conocido como eléctrico de autonomía extendida que podría usar un motor rotativo como generador, como está previsto en una futura versión del eléctrico MX-30.

Aunque el Mazda MX-5 se pase a la electrificación, deberá mantener su esencia si quiere seguir siendo un superventas: en 2019 se coronó como el deportivo más vendido en Europa, con más de 7.700 unidades, superando al Porsche 911. El actual Mazda MX-5 monta motores gasolina Skyactiv-G: uno de 1.5 litros y 132 CV, y otro más potente de 2.0 litros y 184 CV, ambos gestionados por un cambio manual y con tracción trasera.

Comentarios cerrados
Inicio