Tesla patenta nuevas formas de hacer las baterías de sus coches más seguras en caso de incendio

Tesla patenta nuevas formas de hacer las baterías de sus coches más seguras en caso de incendio
1 comentario Facebook Twitter Flipboard E-mail
victoria-fuentes

Victoria Fuentes

Aunque la mayoría de los coches eléctricos tienen la batería en el suelo del habitáculo, que es el lugar menos propenso a choques, tienen aún así probabilidades de incendiarse, sobre todo en caso de accidente. Y es que es difícil almacenar grandes cantidades de energía sin riesgo de explosión o incendio.

Por ello, Tesla presentó el año pasado una nueva patente ante la Organización Mundial de la Propiedad Intelectual y que ha sido recientemente publicada. La nueva tecnología que presenta tiene el objetivo de hacer las baterías de iones de litio más seguras en cuanto a riesgo de incendio, algo que no es más común en vehículos alimentados por combustibles fósiles, pero que pasa.

Aislar para evitar la propagación y liberar gas

Tesla Battery Pack

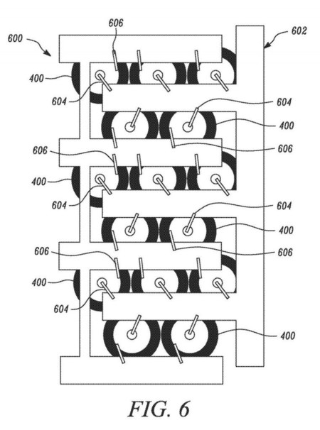
Normalmente, cuando una batería de ion de litio comienza a sobrecalentarse después de fallar, el electrolito que está dentro se vaporiza, lo que hace que la batería se hinche debido al gas altamente presurizado. Estos gases calientes pueden propagar el problema a las celdas cercanas en una reacción en cadena que puede alargarse durante horas.

Así que la solución es liberar esos gases para dirigir la descarga de gas caliente durante el fallo de una celda de batería, que están interconectadas de la siguiente forma:

Tesla Patente

El nuevo sistema también está diseñado para aislar el daño causado por las celdas de batería dañadas y evitar que se extienda a las celdas intactas del paquete, de forma que no ejerzan presión sobre las celdas vecinas.

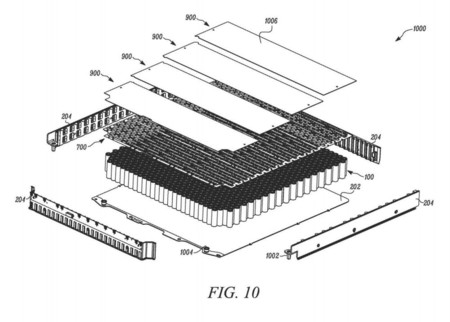
La patente de Tesla, que puedes consultar aquí, describe el uso de dos interconexiones o puntos débiles que se colocarían sobre varias celdas de la batería, así como una placa superior con áreas rompibles diseñadas para romperse cuando las baterías defectuosas liberan calor y crean presión.

El sistema puede incluir material a base de polímero u otro material para aislar térmicamente las celdas de batería del calor generado por otras celdas, así como una placa fría o tubos de calor que evacúen el calor generado por las células.

Tesla Patente2
Tesla Patente3

Otro de los frentes abiertos es que los paquetes de baterías de Tesla están diseñados para ser sellados y no dejan entrar agua ni ningún fluido, ya que están instalados en el suelo del vehículo. Pero Tesla está patentando una forma de inyectar un "líquido de control térmico" dentro del paquete durante un incendio, de forma que pueda facilitar la labor a los bomberos mientras el fuego está activo.

Como ya explicamos, el mayor riesgo para las baterías de un coche eléctrico o híbrido es el accidente: puede provocar o bien un sobrecalentamiento debido a un cortocircuito tras el choque o bien que la integridad de la batería se vea comprometida en el choque y sea perforada. Se producirá entonces el denominado embalamiento térmico.

Crash Tesla Model S

Lo cierto es que los coches eléctricos disponen de una multitud de sistemas de seguridad para impedir que las baterías ardan e impedir incluso el riesgo de electrocución en caso de accidente. Sin ir más lejos, Tesla reforzó en 2014 la protección de los bajos de sus modelos para evitar que objetos en la calzada pudiesen perforar la batería.

Comentarios cerrados
Inicio