Nada está perdido, Mazda sigue patentado el motor rotativo

Nada está perdido, Mazda sigue patentado el motor rotativo
7 comentarios Facebook Twitter Flipboard E-mail
daniel-murias

Daniel Murias

"¿Cuándo volveremos a ver un Mazda con motor rotativo?" No falla. En cada evento o presentación para prensa, siempre hay algún fan boy que tiene que preguntarlo. Invariablemente, el responsable de turno responde lo mismo desde hace varios años: "Hay un grupo de ingenieros que sigue trabajando en su desarrollo, pero no podemos decir nada más".

El Mazda RX-Vision del pasado Salón de Tokio era una declaración de intencionas de la firma de Hiroshima: Mazda quiere volver a tener en su gama un motor de pistón rotativo. Pero hasta que no veamos una aplicación en serie, no nos lo creeremos del todo. Sin embargo, Mazda ha patentado recientemente un nuevo motor rotativo. Y eso nos da esperanzas.

El motor rotativo es casi ideal para el concepto Skyactiv

Mazda Rx 8

El Mazda RX-8 fue el último modelo con motor rotativo disponible de la marca. Conoció cierto éxito, pero su elevado consumo y unas normas de emisiones cada vez más estrictas hicieron que Mazda abandonase el RX-8 y, de cara al público, el motor rotativo. Aún así, algunos de los principios de base del motor Wankel -su compacidad y peso pluma- son ideales para el concepto Skyactiv que ha presidido el desarrollo de los últimos modelos de la marca. El único e importante problema es su elevado consumo y por ende las emisiones.

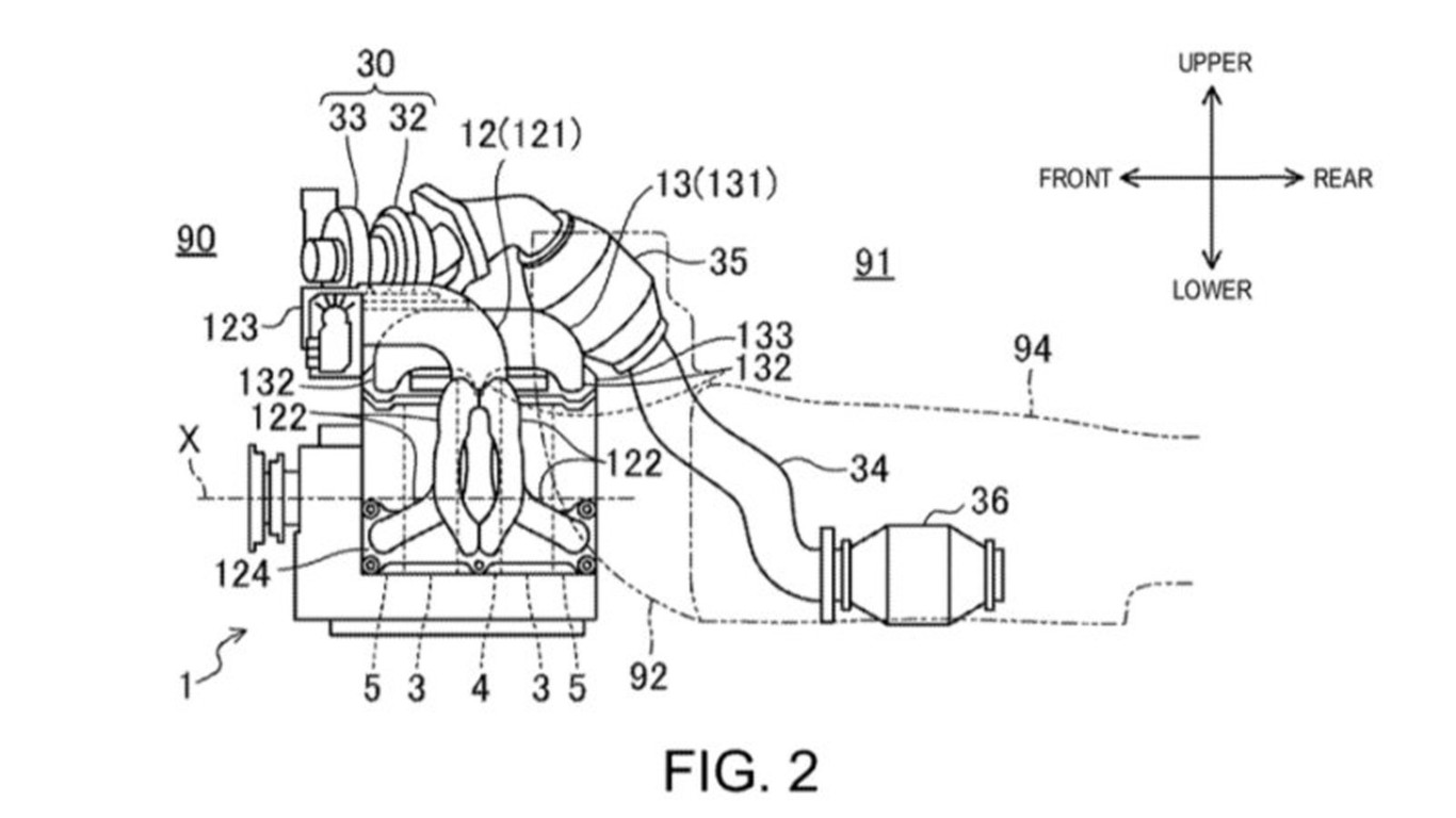
En este nuevo motor, la admisión está situada en la parte baja del motor, mientras que el escape está situado en la parte superior. Esta combinación permite ubicar el motor mucho más bajo en el vano motor, lo que favorecía un bajo momento polar de inercia. Además, este propulsor cuenta con sobrealimentación gracias a un turbo situado en la parte superior.

Cómo implantar el motor en un coche

Esta patente de un nuevo motor significa que en Mazda han pensado la manera de implantar este motor en algún coche. Por ejemplo, el hecho que el turbo esté arriba del motor, cerca del escape (lo accionan los gases de escape), permitiría reducir el turbo lag (el tiempo de reacción del turbo), al mismo tiempo que permitiría montar los catalizadores más cerca, lo que favorecería las emisiones.

Mazda Re13b Wankel Motor RE13B rotativo del Mazda RX7 F3D. Se aprecia su gran compacidad con respecto a la caja de cambios acoplada.

Ahora bien, que una marca registre una patente no significa que el producto patentado vaya a tener una vida comercial. Todas las empresas tecnológicas patentan continuamente decenas de productos, soluciones e invenciones por si acaso. Esta patente de Mazda, lo único que demuestra es que efectivamente siguen desarrollando el motor rotativo. Y no es sólo para que los fans de la marca se queden tranquilos, sino porque todavía creen en ese extraño pequeño motor.

Fuente | United States Patent Application vía Autoblog

En Motorpasión | Mazda y la fuerza de los símbolos

Comentarios cerrados
Inicio