Más detalles sobre los próximos motores turbo e híbridos de Ferrari

Más detalles sobre los próximos motores turbo e híbridos de Ferrari
Facebook Twitter Flipboard E-mail
javier-costas

Javier Costas

Hace casi un año os adelantábamos las intenciones de Ferrari de recurrir a motores más eficientes o incluso hibridación para hacer frente a esa reducción del 20% de emisiones que pretenden para 2012. Pues bien, en la oficina europea de patentes se han encontrado diseños que avalan dicho desarrollo.

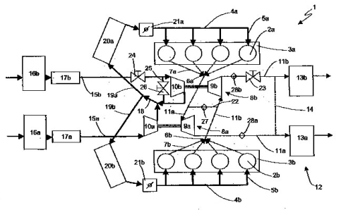
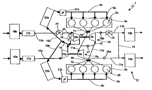
Ferrari ya utilizó motores turbo en los años 80 y principios de los 90, puede que no tardemos en volver a verlos. La patente saca a la luz un diseño biturbo para motores V6, V8, V10 o V12. En el dibujo que vemos se ve un V8 con dos turbocompresores del mismo tamaño (twin turbo) integrados en el bloque motor. Un turbo se utilizaría para bajo régimen y el segundo para dar la máxima potencia.

Tenemos que aceptar que hasta Ferrari debe entrar en la carrera de los motores turbo de nuevo. Además, las prestaciones saldrán ganando, sólo hay que ver las cosas que pueden conseguirse con sobrealimentación, desde los motores 1.2 TCE, pasando por el GTA Spano y acabando en el Mosler GTR de 2.500 CV.

Patente Ferrari

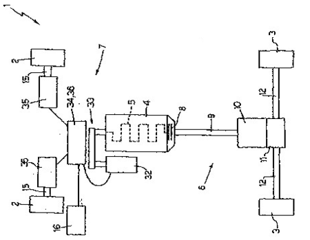
Por otra parte, se trabaja en hibridación, aunque el objetivo principal no es hacer modelos de bajo consumo. Es el mismo principio con el que innovó Lexus con sus RX 400h, GS 450h y LS 600h, la reducción de consumo es un efecto secundario, pero la intención es otra. En este caso hablamos de una aplicación de tracción total.

Ferrari está trabajando en varios diseños que comparten un denominador común. El eje trasero será propulsado por el motor de combustión interna. El eje delantero tendría propulsión eléctrica, bien por un motor que mueva el eje o utilizando dos motores dentro de la rueda (in-wheel motor).

Esta solución supondría tracción total pero con un notable ahorro de peso sin renunciar al ADN Ferrari de propulsión trasera. Con el sistema híbrido se conseguiría mejorar el agarre en aquellas situaciones en que falte adherencia sin necesidad de ser intrusivo en la conducción.

Además, en determinadas circunstancias podría moverse sólo por propulsión eléctrica, como en zona urbana, lo que ayudaría a reducir el balance de emisiones aunque no deje de ser un deportivo pata negra. Lexus ya ha demostrado que los híbridos son más que ahorro y también Mercedes se ha dado cuenta. ¿Lo harán también en Maranello?

Vía | Autocar
Fuente | EPO (diseños biturbo e híbridos)
En Motorpasión | Ferrari planea motores V6 turbo y sistemas híbridos

Comentarios cerrados
Inicio