Tesla patenta un sistema de rayos láser para limpiar sus coches, y podría valer para paneles solares

Tesla patenta un sistema de rayos láser para limpiar sus coches, y podría valer para paneles solares
2 comentarios Facebook Twitter Flipboard E-mail
victoria-fuentes

Victoria Fuentes

Ha salido a la luz una nueva patente de Tesla que revolucionaría el proceso de limpieza de las superficies de vidrio de los coches autónomos. Se trata de un sistema de limpieza con rayos láser cuyo objetivo es impedir que la visión de los sensores y cámaras sea obstruida por partículas o cualquier otro elemento.

Este sistema también se podría aplicar a los paneles solares, y ahora que sabemos que la Cybertruck será el primer vehículo de Tesla en usar la energía solar como extensor de autonomía, parece un buen plan.

Mejor que el líquido limpiaparabrisas

Model X

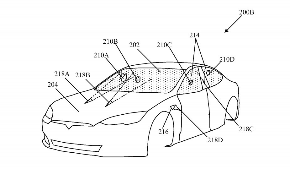
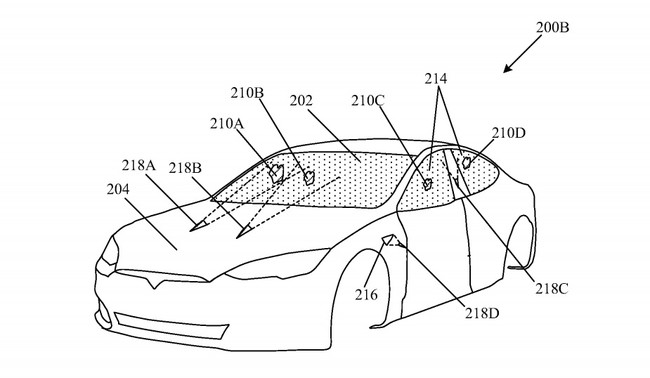
Según la patente, un circuito de detección de partículas equipado con cámaras identificaría las zonas donde se acumula, de forma que el rayo láser pueda proceder a limpiarlo y despejar 'los ojos' del vehículo, esto es, el Autopilot.

Una ilustración que acompaña a la presentación de la patente muestra un Tesla Model S con láseres montados en el capó, el guardabarros y el pilar B para limpiar las cámaras frontales y laterales, aunque también estaría preparado para limpiar cristales laterales, traseros o el parabrisas.

Patente Tesla Fuente: United States Patent and Trademark Office.

Esa patente describe la pulsación del láser a una velocidad calibrada o el recubrimiento del vidrio con un recubrimiento de óxido de indio y estaño (un material semiconductor) para garantizar que el rayo no pase a través del vidrio y dañe los materiales o componentes en el otro lado del cristal.

El óxido de indio y estaño tiene propiedades altamente conductoras y ofrece transparencia en el espectro de la luz visible. De hecho se utiliza en smartphones y pantallas de televisión.

También se usa frecuentemente en la fabricación de leds orgánicos y de células fotovoltaicas, así como el tratamiento de superficies (para luchar contra las interferencias electromagnéticas o contra la electricidad estática), pero el indio es un material muy escaso que encuentra un mejor sustituto en los nanotubos de carbono o el grafeno.

Este sistema láser patentado por Tesla también podría eliminar la suciedad de los paneles fotovoltaicos, ya que cualquier elemento que impida que las células recojan la luz solar reduce la cantidad de energía que produce el panel y por lo tanto la autonomía extra.

Y es que en un Tweet publicado por Elon Musk hace unos días se desveló que la nueva pick-up eléctrica, el Tesla Cybertruck será el primer automóvil de la compañía en ofrecer paneles solares como una opción para extender la autonomía.

Musk afirma que los paneles solares tendrán la capacidad de agregar 24 km por día a la autonomía del vehículo, pero no se ha hablado de momento del precio que tendría.

Claro que para que veamos el proyecto de rayos láser hecho realidad primero tendrán que demostrar que es seguro y efectivo. Hace tres meses la firma californiana patentó un limpiaparabrisas electromagnético que ofrece la ventaja de limpiar la totalidad del parabrisas para no obstaculizar la visión del sistema de asistencia al conductor.

Puede que el sistema rayos láser sea la versión mejorada de este limpiaparabrisas electromagnético.

Foto | United States Patent and Trademark Office

En Motorpasión | Los coches que nos prometió ‘Blade Runner’: del Spinner volador al sedán de Deckard y otras maravillas diseñadas por Syd Mead

Comentarios cerrados
Inicio