Tesla patenta un limpiaparabrisas electromagnético para que las cámaras de conducción autónoma vean bien la carretera

Tesla patenta un limpiaparabrisas electromagnético para que las cámaras de conducción autónoma vean bien la carretera
7 comentarios Facebook Twitter Flipboard E-mail
daniel-murias

Daniel Murias

Los limpiaparabrisas son tan antiguos como el propio automóvil, pero su principio no ha variado mucho desde entonces. Un brazo articulado que limpia el parabrisas. Pero en Tesla, creen que se puede mejorar y unos ingenieros de Tesla han Patentado un nuevo sistema de limpiaparabrisas que ofrece la ventaja de limpiar la totalidad del parabrisas y no solo un área parcial como en la actualidad.

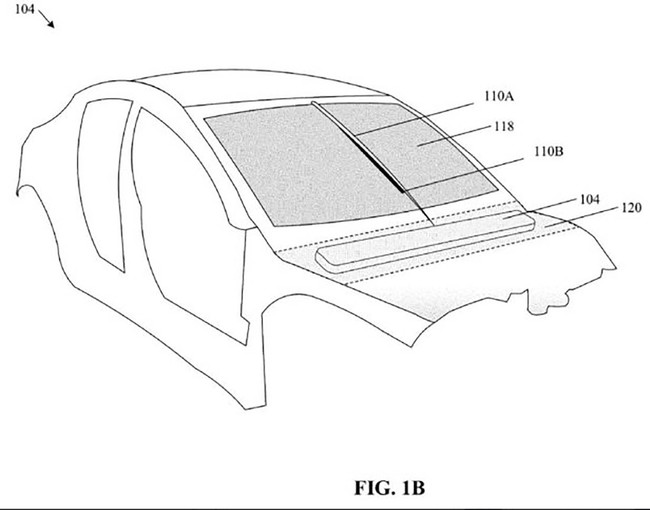
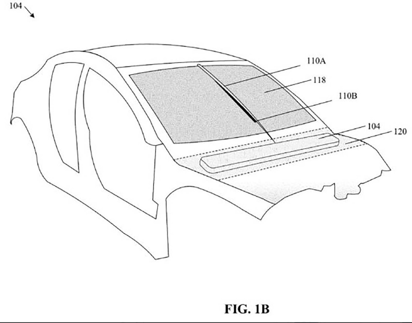
El sistema patentado por Tesla seguiría estando escondido bajo el capó cuando no se usa, como en la mayoría de coches premium, pero sobre todo limpiaría la totalidad del parabrisas. Aunque en la práctica la mayoría de sistemas limpian una superficie suficiente para la mayoría de conductores, la idea detrás del nuevo sistema de Tesla es la necesidad de dejar limpia el área en la que se situarían cámaras para sistemas de conducción autónoma.

Según la propia patente de Tesla:

“En ciertos escenarios, un conductor o cámaras en el vehículo (por ejemplo, en caso de conducción asistida y autónoma) requieren un campo de visión sin obstrucciones de la ruta por delante desde el interior de un vehículo. Los sistemas de limpiaparabrisas convencionales que usan múltiples escobillas de limpiaparabrisas generalmente tienen un diseño abarrotado y no despejan lo suficiente el parabrisas, lo que puede obstaculizar el campo de visión del camino.”

Limpiaparabrisas electromagnético

Tesla Patente Limpiaparbrisas

También argumentan que usar un sistema mecánico aumenta el el desgaste de sus componentes y el consumo del coche y por tanto la autonomía del vehículo. Si bien es cierto, no deja de ser algo residual. En todo caso, en Tesla han ideado un sistema de limpiaparabrisas electromagnético.

A pesar de criticar el uso de partes mecánicas, el sistema de Tesla también las equiparía. Según los dibujos de la patente, el sistema se compone de un brazo rígido, con una articulación en su base que solo sirve para esconderlo debajo del capó.

Tesla Model X Los limpiaparabrisas actuales no consiguen limpiar completamente una superficie tan grande como la del parabrisas del Model X, obligando así a instalar las cámaras de los sistemas ADAS "en medio" del parabrisas. Con este sistema, las cámaras podrían estar en lo alto del parabrisas, despejándolo por completo.

El movimiento linear del limpiaparabrisas, es decir de izquierda a derecha y vice versa a lo largo del parabrisas se obtendría por el deslizamiento de un bloque electromagnético sobre raíles.

Con unos parabrisas cada vez más grandes, como en el Model X, es más complicado conseguir que los limpiaparabrisas limpien el extremo superior del parabrisas, ahí donde están las cámaras de los sistemas de ayudas a la conducción y en un futuro de conducción autónoma.

Como con todas las patentes, no significa que este sistema llegue a la producción. Y si llega, quizá lo haga en una versión diferente. En cuanto a qué coches de la marca lo usarían, es imposible saberlo. Es muy habitual que los fabricantes patentes varios sistemas de toda clase cada año.

Comentarios cerrados
Inicio