Mientras nos quejamos de tecnologías inútiles, una marca ha patentado un chivato de carreteras en mal estado. Es difícil que se haga realidad

  • La patente convierte a los coches en sensores conectados para monitorizar el estado del asfalto

  • Un sistema que podría salvar neumáticos, suspensiones… e incluso prevenir algún que otro disgusto al volante

Jens Aber Fclnk Miz E Unsplash
1 comentario Facebook Twitter Flipboard E-mail
irene-mendoza

Irene Mendoza

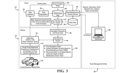
General Motors ha registrado en EEUU una patente muy interesante: una tecnología que convierte a sus coches en guardianes del asfalto. Esta no sólo es capaz de detectar baches y carreteras en mal estado para prevenir al conductor en tiempo real, sino que también puede avisar automáticamente a la administración correspondiente para que los repare.

La clave está en aprovechar lo que ya llevan muchos coches modernos: cámaras, GPS, acelerómetros o sensores de suspensión. Si el vehículo detecta un golpe o una vibración extraña, registra la incidencia y la envía a la nube. Allí, los datos se cruzan con los de otros coches y todo se traduce en un “Índice de Mantenimiento de Carreteras”, una especie de informe que refleja cómo está realmente el asfalto en cada tramo.

Una red de coches conectados que comparte información

Una de las fortalezas de este sistema patentado por GM es que no depende de un único vehículo: cuantos más coches circulen por una carretera, más datos se recopilan y más preciso es el mapa de deterioro. Esto permitiría no solo saber dónde está el bache de hoy, sino también predecir cómo evolucionará en el futuro.

Además, la información podría utilizarse en tiempo real. Imagina que tu coche detecta un tramo peligroso en la ruta: el navegador integrado podría proponerte automáticamente una alternativa para evitarlo. En el caso de los coches autónomos, el sistema incluso podría redirigirlos sin intervención del conductor.

Antes del registro de esta patente, Ford ya había trabajado en proyectos similares para que los coches anticipen baches y avisen al conductor. Otras marcas han explorado vías similares, como por ejemplo Volvo, que dispone de un sistema que comparte en la nube información sobre el estado de la calzada (como hielo o firmes resbaladizos) entre sus modelos conectados en Escandinavia.

Patente Gm Patente de GM registrada en EEUU

Tesla, por su parte, ha optado por suspensiones que se ajustan automáticamente a la altura del bache, lo que mejora la comodidad del conductor, pero no evita que el problema persista en la carretera. La diferencia es que General Motors no se centra en suavizar el golpe, sino en recopilar y compartir datos que puedan usarse para mejorar la seguridad vial a gran escala.

Y si llegase a España, ¿funcionaría?: el reto de llevarla a la realidad

En un país como el nuestro, la idea suena más que interesante. Según el último informe de la Asociación Española de la Carretera, el 52 % de la red presenta deterioros graves y más de 34.000 kilómetros necesitan reconstrucción urgente. En vías como la A-52, en Galicia, los baches no son una anécdota: son un peligro diario para miles de conductores.

Patente Gm 4

Ahora bien, de poco serviría detectar un bache si después no hay recursos para repararlo. Y hay otro obstáculo: GM tiene poca presencia en el mercado europeo y aún menos en España. Para que este sistema fuese realmente útil aquí, debería extenderse más allá de una sola marca, quizá como estándar de la industria o integrado en aplicaciones de navegación ya populares.

El mayor problema de esta tecnología es el de siempre: las patentes no garantizan que un invento llegue al mercado. Los fabricantes registran cientos de ellas cada año, muchas como simples ideas de futuro que nunca ven la luz. Incluso si GM desarrollase este sistema, necesitaría la colaboración de las administraciones públicas para que los avisos se transformen en reparaciones reales. Y eso no depende sólo de la marca.

Un sueño que GM persigue desde hace décadas

No es la primera vez que GM imagina un futuro en el que los coches se convierten en aliados de la seguridad vial. En 1956 produjo el cortometraje ‘Key to the Future’, donde los vehículos se conducían solos y un amable controlador de tráfico humano ayudaba a planificar la ruta más eficiente. Hoy, casi 70 años después, la visión de carreteras inteligentes sigue sin cumplirse, aunque las tecnologías conectadas estén más cerca que nunca.

En un contexto en el que los coches acumulan cada vez más pantallas y funciones que a menudo distraen más de lo que ayudan, un sistema que realmente pueda prevenir accidentes avisando de baches y carreteras en mal estado sería una de esas tecnologías que, de hacerse realidad, sí marcarían la diferencia.

Imágenes | Unsplash, US Patent and Trademark Office, King Rose Archives

En Motorpasión | Antes del Bluetooth, del Android Auto y de los smartphones, en 1949 Italia ya tenía un revolucionario sistema de manos libres para coches

Comentarios cerrados
Inicio