Los coches eléctricos de Mazda serán de rango extendido usando un motor rotativo y supercondensadores, según esta patente

Los coches eléctricos de Mazda serán de rango extendido usando un motor rotativo y supercondensadores, según esta patente
21 comentarios Facebook Twitter Flipboard E-mail
jesus-martin

Jesús Martín

Cuando una marca tiene algo de lo que sentirse orgullosa lo lleva hasta los extremos. Mazda es un caso particular, pues son los únicos en defender de manera férrea los motores rotativos, incluso cuando no los están usando y nos hacen recordar con más cariño a coches como el Mazda RX-7. Por ahora...

La firma japonesa ha patentado un nuevo esquema que confirma algo que lleva rumoreándose durante años. Mazda quiere devolver a la vida los motores rotativos, pero en este caso como complemento a los esquemas de electrificación, como extensores de autonomía en un esquema con supercondensadores que han patentado recientemente.

Mazda y la fidelidad hacia los motores rotativos

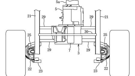
Mazda Rotativo Electrico Rango Extendido 3 Sección del motor eléctrico in-wheel de Mazda.

Cuando prácticamente todas las marcas se centraron en el downsizing para rebajar las cifras de emisiones, Mazda dijo "no" y estableció su propio camino buscando la eficiencia en motores relativamente grandes utilizando medidas alternativas. Estas medidas tienen un efecto positivo, pero no son suficientes de cara a las futuras limitaciones de emisiones.

Mazda ha tenido que dar su brazo a torcer introduciendo medidas de hibridación suave e, incluso, lanzando su primer vehículo 100% eléctrico. El Mazda MX-30 es un SUV mediano impulsado al 100% por electricidad y con una escueta batería de 35,5 kWh (200 km de autonomía). Fieles a su estilo propio, la marca asegura que es suficiente para la mayoría de usuarios y una batería más grande implicaría añadir un peso innecesario y tendría una huella de CO₂ superior a la de un coche diésel.

Mazda Rotativo Electrico Rango Extendido

Aparentemente Mazda no tiene ninguna ambición por entrar en el segmento de los coches eléctricos de gran autonomía, pues postulan que es más eficiente combinar baterías pequeñas con motores térmicos eficientes y soluciones alternativas. Por eso han patentado un nuevo esquema que utiliza una batería, un motor térmico rotativo y supercondensadores .

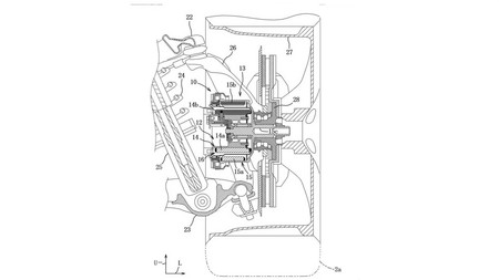
Mazda Rotativo Electrico Rango Extendido 4

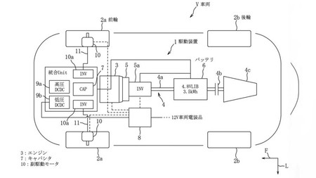
Según los esquemas mostrados en la patente Mazda ya está trabajando en un esquema para coches eléctricos de rango extendido (REx), destinados a aquellos clientes que necesiten acometer desplazamientos más largos y eléctricos con un radio de acción corto-medio no puedan alcanzar. La solución de Mazda: motor rotativo, una batería pequeña y supercondensadores. Figuras 3, 6 y 7 en la figura superior.

Mazda RX-Vision GT3 Concept

El principio fundamental es que tomando la energía procedente de las frenadas y deceleraciones para recargar la batería, un supercondensador puede conseguir captar esa energía de manera mucho más rápida y eficiente. Además, los supercondensadores son más ligeros y más baratos de fabricar.

El uso de este elemento en conjunción con un motor rotativo para producir energía cuando sea necesario redunda en el uso de una batería mucho más pequeña. Tan pequeña como que el esquema muestra unas cifras de tan solo 3,5 kWh de capacidad, 10 veces menos que la batería del Mazda MX-30.

Mazda Rotativo Electrico Rango Extendido 1

En principio la mayoría de la energía necesaria para mover al coche vendría de los supercondensadores, pudiendo mandar electricidad a la batería cuando éstos alcanzasen la capacidad máxima. En el momento que los supercondensadores se vacíen sería la batería la encargada de mandarles electricidad y cuando la batería se descargue, se utilizaría al motor rotativo como generador para recargar el pequeño paquete de baterías.

Según la patente, los supercargadores irían colocados por delante del eje delantero y conectados directamente a los motores eléctricos: uno en cada rueda y con una voltaje de 120 V para reducir la sección de los cables utilizados. El motor rotativo estaría colocado tras el eje delantero y conectado directamente a la batería a través de un inversor. El motor térmico en ningún momento movería las ruedas.

Mazda Mx 30 07 Cargando

Pero este esquema no es algo en lo que Mazda esté trabajando para un único modelo, sino que variando la potencia del motor y el tanque de combustible se pueden conseguir diferentes aplicaciones para una misma arquitectura. Una iniciativa que bien podría aplicarse a toda la gama del fabricante en un futuro, ya sea con coches eléctricos de rango extendido, híbridos o híbridos enchufables.

Hay que reconocer que pese al carisma y el sonido embriagador de los motores rotativos, este tipo de propulsores tenían grandes contras: elevado consumo de combustible, fallos en la estanqueidad de las cámaras de combustión, consumo de aceite o dificultades para disipar el calor. Veremos si recurriendo a los supercondensadores y a otras medidas de eficiencia Mazda puede llevar a buen puerto esta tecnología.

En Motorpasión | Primer contacto con el Volkswagen ID.3: un coche eléctrico con una habitabilidad brutal y un equipamiento que convence

Comentarios cerrados
Inicio