Toyota no quiere que te aburras conduciendo sus coches eléctricos, así que se ha inventado este cambio manual de hasta 14 marchas

Cambios
9 comentarios Facebook Twitter Flipboard E-mail
irene-mendoza

Irene Mendoza

Que Toyota lleva tiempo desarrollando una transmisión manual simulada tanto para sus coches eléctricos como para los de Lexus ya no es ningún secreto, aunque los detalles técnicos de este sistema, que hará un poco más felices a los conductores más entusiastas de las transmisiones tradicionales, van revelándose con cuentagotas.

La marca nipona ya registró en la oficina de patentes y marcas de EEUU algunos de sus avances el año pasado (que se filtraron en foros especializados de Internet), aunque ahora una nueva patente de Toyota arroja un poco más luz sobre su compleja caja de cambios “que parece manual” pero no lo es, y que podría tener incluso 14 marchas.

Hasta 14 marchas virtuales para una caja de cambios manual simulada

Toyota Cambio Manual

Con las cajas de cambios manuales en peligro de extinción, sobre todo en los últimos años y a raíz de la transición hacia el coche eléctrico, la tecnología de Toyota capaz de simular el cambio manual en un coche eléctrico sin necesidad de realizar modificaciones en la cadena cinemática busca añadir un plus de emoción a la conducción eléctrica, lo más realista posible.

En realidad, por su anatomía, ni los coches híbridos ni los eléctricos necesitan cajas de cambios manuales. Entre otras cosas, estos vehículos solo suelen llevar una relación de marchas, salvo contadas excepciones como el Porsche Taycan, que lleva dos. Así, lo menos costoso y lo más práctico para los fabricantes es desarrollar transmisiones automáticas que, por otra parte, son más cómodas para muchos conductores.

Sin embargo, los conductores que prefieren las cajas de cambios manuales y que están quedándose casi sin opciones entre las novedades del mercado, ahora tendrán “una solución intermedia”. Y es que la transmisión manual de Toyota, simulada, hará que el conductor pueda sentirse a los mandos de un coche manual sin estarlo: y todo será cosa del software.

Toyota Cambio Manual2

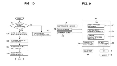
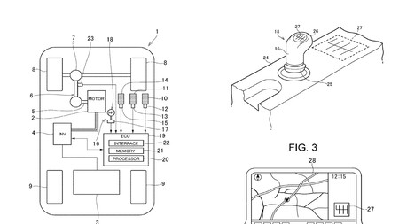
Como ya avanzaban patentes anteriores, el sistema de Toyota contempla básicamente un selector de cambio, un pedal de embrague y un selector de modos de conducción. Estos elementos no irán unidos a la propia mecánica del coche, sino que se limitarán a realizar cambios en el comportamiento dinámico del coche a petición del conductor, mediante especificaciones a nivel electrónico.

Ahora, según la nueva patente, con este sistema de transmisión parece que “no habrá un límite técnico en la cantidad de marchas” que dicho dispositivo puede tener, sino que el conductor podrá seleccionar exactamente cuántas relaciones desea “de acuerdo con sus preferencias”. De hecho, los esquemas registrados junto al documento técnico muestran la posibilidad de contar hasta con 14 velocidades.

No obstante, el fabricante no describe sistema electromecánico alguno para crear efectivamente tantas “marchas” como desee el usuario. En cambio, sí que habría un número fijo de marchas seleccionables (probablemente seis), aunque Toyota sólo pone cuatro como ejemplo.

Toyota Cambio Manual3

Así, en teoría, este sistema permitirá seleccionar una marcha como en un coche manual normal y, a medida que el conductor avanza, el patrón virtual se desplaza “al siguiente conjunto de relaciones”.

Entonces, si hay un patrón de seis marchas y se selecciona la sexta, una pantalla cambiará las relaciones disponibles, invitando al conductor a subir a la séptima y todas las marchas posteriores, o bajar a la quinta y al conjunto existente de marchas. En todo caso, siempre se puede volver al modo eléctrico normal, para preocuparse sólo de accionar el acelerador y el pedal del freno cuando sea necesario.

Este sistema puede parecer algo confuso para quienes estén acostumbrados a las transmisiones manuales auténticas, pero hemos de tener en cuenta que este no deja de ser un sistema virtual. En un coche de combustión con transmisión manual este tipo de sistemas con tantas marchas no tendría ningún sentido y tampoco es un sistema necesario en un coche eléctrico.

Supra

Pero al tratarse de un cambio simulado, ¿por qué no? Al final, será una elección personal de cada conductor en torno a la experiencia que quiera vivir.

Cuando una gran parte de los conductores ya ha adoptado el cambio automático (incluso en Europa gracias a las cajas de doble embrague y cambios automáticos como el ZF de 8 relaciones), la propuesta de Toyota parece dirigida a una franja muy concreta de su clientela, como aquellos que se hicieron en su día con su Toyota GR Supra con cambio manual, por ejemplo.

Encuentra tu coche eléctrico ideal

Ev

Si te has planteado comprar un coche eléctrico, esto te va a interesar. Hemos creado el Recomendador personalizado de coches eléctricos en el que además de ver los modelos que se adaptan a tus necesidades también tendrás respuestas a las dudas que más te pueden preocupar como el precio, la autonomía o los puntos de carga cercanos.

Comentarios cerrados
Inicio