¿Quién da más? Ford va y patenta una caja de cambios de 11 (sí, once) velocidades

¿Quién da más? Ford va y patenta una caja de cambios de 11 (sí, once) velocidades
27 comentarios Facebook Twitter Flipboard E-mail
josep-camos

Josep Camós

Director
josep-camos

Josep Camós

Director

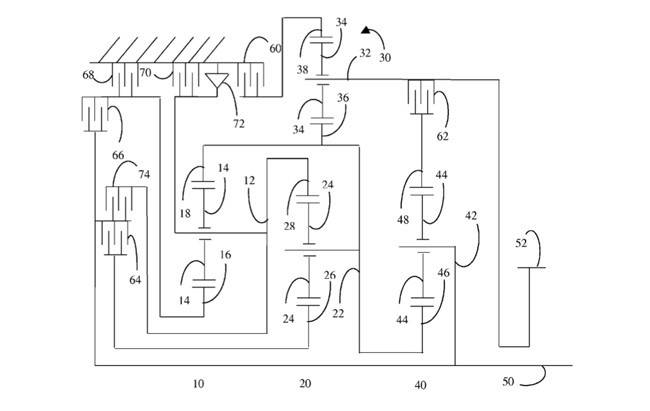
Que un escalado de marchas más o menos seguido puede ayudar a diseñar mejor las relaciones de cambio más convenientes en las transmisiones automáticas, es algo que creo que nadie puede poner en duda. Pero tiene que haber un límite. Y Ford no está por la labor de encontrarlo, si tenemos en cuenta que ha patentado una caja automática de 11 velocidades.

De todas formas, tengamos en cuenta que una patente no es sinónimo de un desarrollo ni mucho menos de un uso en producción de aquel cacharro que se patenta. Equivale simplemente a poner la firma en un papel que, por cierto, en esta ocasión se nos queda en un triste diagrama sin mayor detalle que el justo y necesario para apreciar los 11 cambios de marcha.

Transmisión automática ZF

Ya habíamos comentado en su día que para la gente de ZF Friedrichshafen AG , que algo saben de cajas de cambios, nueve es el límite natural para las transmisiones automáticas. La marca del óvalo, sin embargo, parece funcionar por sus propias reglas. Tiempo atrás ya se estuvo especulando sobre la posibilidad de que hubiera varios modelos con cambio automático de 10 relaciones. Ahora, el límite parece encontrarse en las 11 marchas.

Suerte que no son marchas manuales, porque de ser así casi iba a salir a cuenta sustituir las palancas de cambio tradicionales por esferas de reloj, y a cada marcha, ponerle una campanada.

Vía | Motor Authority

Comentarios cerrados
Inicio