Tesla patenta un nuevo sistema de ensamblaje para mejorar el ajuste de los paneles de sus carrocerías

Tesla patenta un nuevo sistema de ensamblaje para mejorar el ajuste de los paneles de sus carrocerías
69 comentarios Facebook Twitter Flipboard E-mail
victoria-fuentes

Victoria Fuentes

El ensamblaje final de modelos como el Tesla Model X, Model S o Model 3 ha sido bastante criticado por defectos como problemas de la alineación -o la ausencia de ella- de los paneles de la carrocería o los acabados interiores.

Para ponerle remedio, Tesla ha solicitado una patente para un nuevo sistema que evitaría esos huecos visibles en la carrocería de sus coches.

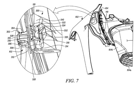
Tesla quiere una imagen estética mejorada

Según la solicitud, la solución de Tesla es un sistema de sujeción que permite cierto margen de maniobra entre las partes a la hora de ajustar las piezas mientras se mantiene los paneles unidos. Este sistema se basa en una abrazadera que permitiría que los paneles se ajusten en mayor medida mientras se mantienen firmemente unidos, minimizando el espacio entre ellos.

Un sistema que puede ser realmente útil cuando una o ambas partes son flexibles, como ocurre con el capó del maletero delantero que se une al plástico del guardabarros y que durante el proceso de montaje puede moverse en varias direcciones.

Tesla Patente
Tesla Patente2

Según recoge Electrek, Tesla aseguró en abril estar concienciada con el problema de la alineación de los paneles, y afirmó que la desviación estándar de los huecos en la carrocería del Model 3 ha mejorado en "casi un 40 %" en promedio desde el inicio de la producción, "con mejoras particulares en el espacio visible del maletero, las luces traseras y el panel trasero", dijo.

También aseguró que a día de hoy los acabados en la carrocería del Model 3 juegan en la liga de modelos de Audi, BMW y Mercedes, "pero con el espíritu de una mejora implacable", están trabajando para hacerlos "aún más estrechos".

Comentarios cerrados
Inicio