No solo es un cofre de techo: esta power bank para coches eléctricos quiere acabar con la ansiedad por la autonomía

Cofre De Techo
18 comentarios Facebook Twitter Flipboard E-mail
irene-mendoza

Irene Mendoza

Recientemente Ford ha solicitado una curiosa patente para un sistema de batería de respaldo para coches 100 % eléctricos que se instala en el techo con un sencillo mecanismo, similar a los de los cofres para equipaje extra.

Según los documentos presentados por el fabricante ante la Oficina de Patentes y Marcas de Estados Unidos (USPTO), este peculiar dispositivo podría servir como una especie de ‘power bank’ para recargar la batería principal del coche cuando se circula por zonas donde no haya cargadores disponibles. Además, funcionaría de forma automática.

Una alternativa original a las placas solares de techo

Patente Ford Fuente: Patente Ford

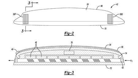
La patente de Ford, que fue descubierta por el usuario RDale en el foro de propietarios de Ford F-150 “Lightning Owners” de EEUU, muestra la silueta de lo que podría ser un todoterreno eléctrico similar a un Ford Bronco con una baca en el techo sobre la que se asienta algo parecido a un cofre convencional del que sale un cable de carga.

En la solicitud de patente dice que este baúl de techo alberga una batería de reserva que “podría instalarse cuando se prepara un viaje en el que la disponibilidad de cargadores es escasa y desinstalarse al volver a casa”, o allí donde el propietario tenga a mano un cargador convencional para recargar la batería principal.

Esta batería de reserva, que por concepto es similar a las “power banks” o baterías externas que se utilizan para recargar teléfonos móviles y otros dispositivos electrónicos, incluiría “varios módulos y un puerto de conexión”. Así, se podría utilizar simplemente enchufando el cable de carga al puerto del coche.

Ford afirma que esta peculiar batería de reserva para el techo “tiene conductos de aire a ambos lados de la carcasa para mejorar la refrigeración de las celdas” que pueden abrirse o cerrarse en remoto para impedir que entre agua, frío extremo o arena en la carcasa y dañar potencialmente las baterías.

Además, la carcasa que se muestra en la solicitud de patente incluye una tapa y una bandeja revestida de espuma de poliuretano para ayudar a gestionar los niveles de energía térmica dentro de la carcasa y mantener su interior relativamente fresco.

Patente Ford 2 Fuente: Patente Ford

Ford especifica que la batería de reserva puede cargarse de la misma forma que el propio coche, con el cable que se incluye. Pero el baúl de techo también alberga un módulo de control que “puede comunicarse de forma inalámbrica y automática con el vehículo” para gestionar la carga del paquete de baterías con la batería de reserva cuando sea necesario. Sin interrupciones y sin necesidad de que intervenga el conductor.

Habrá que esperar para ver si este revolucionario sistema para extender la batería de los coches eléctricos obtiene luz verde (con o sin variaciones), pero de momento le vemos algunas ventajas y un gran incoveniente.

Por un lado, podría decirse que el sistema es una original alternativa a los conocidos paneles solares de techo. Pero por otro, además de que podría restar cierta aerodinámica al coche y afectar a su centro de gravedad, también podría incrementar su consumo si el sistema no está muy estudiado y muy bien implementado. Así, no cumpliría con su propósito: al contrario.

Placa Solar Portatil Placa solar portátil

Además, por el momento no se especifican los datos técnicos de esta batería auxiliar relativos a la capacidad, potencia, etc, que nos servirían para hacernos una idea de la autonomía “extra” que proporciona al coche.

En este punto, también tendríamos que tener en cuenta qué peso tendría el sistema incluyendo las propias baterías de reserva y el cofre donde irían alojadas. Las baterías más extendidas en la actualidad, de iones de litio, suelen ser bastante pesadas (y en consecuencia, los vehículos eléctricos también).

En este sentido, quizá se anoten el punto los paneles solares de techo o algunas alternativas portátiles para un apuro, por ejemplo. Al fin y al cabo son sistemas que hacen prácticamente lo mismo y son más más ligeros y quizá más prácticos para el tipo de vehículo y el objetivo principal que plantea en este caso la patente solicitada por el gigante del óvalo azul.

Comentarios cerrados
Inicio