Ferrari quiere ponerle a sus coches de calle una macarrada propia de un Shelby Cobra: tubos de escape laterales para escupir fuego por los lados

  • Ferrari ha presentado una patente de unas salidas de escape colocadas en los laterales de un coche de calle

  • No sería el primer Ferrari con escapes laterales, pero sí sería el primero de calle con esta solución

Ferrari Escapes
1 comentario Facebook Twitter Flipboard E-mail
alvaro-ruiz

Álvaro Ruiz

Por mucho que evolucione el diseño en la industria del automóvil, hay ciertas cosas que solo se atreven a hacer unos pocos, como poner las salidas de escape en los laterales del coche

Si me paro a pensar cuántos modelos han utilizado esta solución a lo largo de las últimas décadas, solo me vienen a la cabeza unos pocos, como el Dodge Viper, el Shelby Cobra, el Jaguar D-TYpe, el Jaguar XKSS, algunos Caterham Seven, el TVR Sagaris, el Mercedes SLR de los años 50, el Mercedes SLR McLaren (también la versión Stirling Moss) y el Mercedes-AMG G 63.

Son peligrosos, más pesados y malos para la aerodinámica, pero Ferrari lo ha solucionado

Este último es el único coche que se vende en estos momentos con escapes laterales y, al igual que el resto, es salvaje, de hecho, este tipo de salidas de escape se asocian, inevitablemente, a modelos muy bestias. Y si me apuras, también con coches muy macarras. Lo cierto es que no me imagino un Rolls-Royce con este tipo de escapes... o cualquier berlina de representación.

Lo que nunca he entendido es por qué no se han atrevido más fabricantes a utilizar esta configuración, sobre todo, si tenemos en cuenta que es una cuestión de diseño en la que no se ha innovado mucho: casi todos los deportivos tienen las salidas de escape en la parte trasera y solo algunos modelos arriesgan un poco con su diseño, como los Pagani, el McLaren Senna, el McLaren 600LT o el Lexus LFA.

Escapes Laterales 3

Pues bien, parece que Ferrari se ha aburrido de poner las salidas de escape en el mismo sitio y está barajando diseñar un coche con escapes laterales. La marca italiana es precisamente, una de las compañías que menos ha innovado en esta cuestión porque la mayoría de sus coches han tenido y tienen dos salidas de escape (simples o dobles) colocadas en la parte trasera, generalmente, abajo y en ambos lados del paragolpes.

El F40 sacó un poco los pies del tiesto con sus tres salidas de escape y el Ferrari 458 Italia le homenajeó unas décadas más tarde con la misma solución, pero solo hemos visto un Ferrari con escapes laterales y únicamente se podía utilizar en circuito: el Ferrari 599XX Evo.

Mercedes Slr

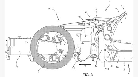
Eso podría cambiar muy pronto, o al menos eso podemos pensar tras ver las patentes que acaba de presentar Ferrari y que ha encontrado primero Motor1. La patente ha fue presentada en la Oficina de Estados Unidos a mediados de este mes de octubre con el título ‘Coche de calle con salidas de escape laterales’ y parece resolver los problemas que suele tener esta configuración, entre los que se incluye la aerodinámica, un peso excesivo y la seguridad en caso de accidente.

“Los coches de carretera conocidos del tipo descrito anteriormente adolecen de algunos inconvenientes, que se deben principalmente al hecho de que la presencia de los puntales amortiguadores o las dimensiones de los pilares alargados mencionados anteriormente conducen a un peso relativamente grande del coche de carretera y pueden comprometer los rendimientos aerodinámicos del coche de carretera”, dice la descripción de la patente. 

Patente Escapes Laterales Ferrari 0

“El objeto de la invención es proporcionar un coche de carretera que no adolezca de los inconvenientes discutidos anteriormente y que pueda fabricarse de manera simple y económica”, añade la patente.

Con el diseño que ha patentado Ferrari, los escapes laterales no supondrían un riesgo extra en caso de accidente, tampoco afectan a la aerodinámica, no deberían pesar demasiado porque el recorrido del escape es bastante corto y como apenas sobresale la salida de escape del lateral del coche, tampoco habría riesgo de que el conductor o el pasajero se quemen al entrar y salir del vehículo, como sucedía en el Shelby Cobra.

Ahora falta por ver si Ferrari utiliza esta patente, ya sea en un coche de producción de gran volumen o en una de sus series limitadas. Incluso es posible que Ferrari recurra a los escapes laterales en sus coches creados específicamente para un cliente, es decir, en sus one-off.

Imágenes | Ferrari, Shelby, Mercedes-Benz, Dodge, WIPO

Comentarios cerrados
Inicio