General Motors ya tiene caja de doble embrague

General Motors ya tiene caja de doble embrague
Facebook Twitter Flipboard E-mail
gonzalo-lara

Gonzalo Lara

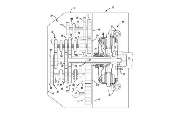
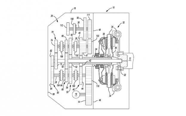
Una oficina de patentes ha revelado el nuevo proyecto que está llevando acabo General Motors con SAIC (Shanghai Automotive Industry Corporation). Se trata de una caja de cambios de doble embrague de 7 velocidades. La marca de la pajarita aún no tenía nada parecido en venta.

En sus coches seguían y siguen estando como opción las cajas de convertidor de par que tecnológicamente ya están superadas. Esta nueva caja está destinada a turismos de tracción delantera como puede ser el Chevrolet Cruze.

Las ventajas del doble embrague son unos consumos mucho más ajustados ya que no hay pérdidas de energía ni resbalamiento como ocurre en el convertidor de par, y además unos cambios de marcha más rápidos y precisos.

También se han descubierto junto con esta transmisión, nuevos motores de gasolina turboalimentados de inyección directa que están desarrollando estas dos empresas. La cilindrada varia entre 1.0 y 1.5 litros y sería probable que fuesen los primeros en recibir la nueva caja de doble embrague.

Via | Autobloggreen Fuente | Auto Evolution

Comentarios cerrados
Inicio