Los coches eléctricos deberían tener un tubo de escape. No es una broma, sino una idea de Stellantis. Y tiene sentido

Escapes Para Coches Electricos Peugeot
3 comentarios Facebook Twitter Flipboard E-mail
daniel-murias

Daniel Murias

La idea de que un coche eléctrico suene como un coche de gasolina y emule los cambios de marcha, como puede hacer el Hyundai Ioniq 5 N, puede parecer algo totalmente inútil, superfluo y, para algunos, una aberración contra naturaleza. Pero, ¿y un tubo de escape?

Sí, hablamos de un coche eléctrico con un tubo de escape funcional. Y además uno pensado para evacuar gases y no para hacer ruido, como la propuesta de Dodge para su Charger eléctrico. Para el grupo Stellantis, aunque un coche eléctrico no necesita sistema de escape porque no produce emisiones, la propuesta tiene sentido.

Un coche 100% eléctrico con tubo de escape para evacuar gases

Los coches eléctricos pueden necesitar cambios de aceite (de la transmisión) e incluso pueden tener cajas de cambios automáticas (de momento, de dos relaciones), pero no tienen ni necesitan tubo de escape. Sencillamente, porque no hay emisiones que evacuar.

Hay algunos experimentos con silenciadores digitales que simulan el ruido de un motor de combustión interna, pero estas cajas de resonancia suelen estar situadas bajo el capó, como es el caso del citado Hyundai Ioniq 5 N, por ejemplo. Sin embargo, en Stellantis van en otra dirección; una diametralmente opuesta.

Maserati Folgore

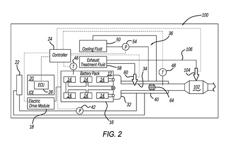
En una solicitud de patente en la Oficina de Patentes de Estados Unidos descubierta por Green Car Reports, Stellantis describe una tecnología que canalizará y tratará los gases tóxicos que pueden surgir si una batería entra en embalamiento térmico, es decir, un calentamiento incontrolado que, en el peor de los casos, puede provocar un incendio, siempre muy dificil de sofocar.

Según explica Stellantis en su patente, cuando las baterías se sobrecalientan, es decir, experimentan un embalamiento térmico, pueden liberar gases inflamables que se inflaman en presencia de las altas temperaturas generadas por el sobrecalentamiento de las baterías. Según el fabricante, estos gases pueden incluir hidrógeno e hidrocarburos como metano, etano, etileno, acetileno, propano, ciclopropano y butano.

Y este sistema está diseñado para evacuar los gases peligrosos que se liberan en caso de incendio de la batería de forma segura, pues la patente hace referencia a diferentes zonas de tratamiento de esos gases.

Stellantis Ev Escape Patente Imagen de la patente del sistema de escape Stellantis para coches eléctricos.

Aunque las probabilidades de que la batería de un coche eléctrico se incendie son muy reducidas, se trata, finalmente, de una medida de seguridad adicional, que se suma a los sistemas de control con los que están equipados actualmente todos los coches eléctricos.

Stellantis ha desarrollado este sistema para la nueva plataforma STLA Large, destinada a los modelos más grandes del Grupo. Esta plataforma podrá acoger baterías de hasta 800 voltios y con una capacidad de hasta 118 kW. Esta base técnica no está destinada, por tanto, a marcas generalistas del grupo, como Citroën, Opel o Peugeot, sino que debería ser utilizada por Alfa Romeo, Dodge, Maserati o Lancia.

Stellantis aprovecharía para el escape en estos futuros coches eléctricos el hueco ya existente en la plataforma. Y es que esta plataforma también podrá equipar motores de combustión interna para modelos híbridos y PHEV, por eso los ingenieros han previsto un espacio para un escape en una plataforma de coche eléctrico.

Aún no se sabe si Stellantis utilizará realmente este sistema de seguridad para sus futuros coches eléctricos. Al fin y al cabo, los fabricantes patentan numerosos diseños, sistemas y nombres por si acaso, no necesariamente porque tienen intención de usarlos.

Además, Stellantis es uno de los fabricantes que ha apostado por las baterías de estado sólido, unas baterías que presentan en teoría un ínfimo riesgo de incendio con respecto a las baterías de iones de litio utilizadas hoy en día. Aunque la industrialización de este tipo de baterías está todavía muy lejos.

Encuentra tu coche eléctrico ideal

Dodge Charger Ev

Si te has planteado comprar un coche eléctrico, esto te va a interesar. Hemos creado el Recomendador personalizado de coches eléctricos en el que además de ver los modelos que se adaptan a tus necesidades también tendrás respuestas a las dudas que más te pueden preocupar como el precio, la autonomía o los puntos de carga cercanos.

Fotos | BMW, Stellantis y Oficina de Patentes de Estados Unidos

Comentarios cerrados
Inicio