La clave para que el Tesla Model Y tenga un precio asequible estará en su innovador proceso de fabricación

La clave para que el Tesla Model Y tenga un precio asequible estará en su innovador proceso de fabricación
12 comentarios Facebook Twitter Flipboard E-mail
alejandra-otero

Alejandra Otero

El SUV Tesla Model Y, el segundo retoño de la firma californiana concebido para el gran público, llegará al mercado estadounidense en otoño de 2020. Tesla está centrando sus esfuerzos en abaratar los costes de producción en este nuevo modelo y parece que va por buen camino, como revelan una serie de patentes que ha registrado para su fabricación.

El Model Y más barato costará 39.000 dólares, aunque esta variante de acceso será la última en llegar y no estará disponible en todos los mercados, como es el caso del español. El objetivo de Tesla es que este todocamino ofrezca un precio competitivo y alejado del Model S y el Model X. En definitiva, continuar la senda del compacto Model 3.

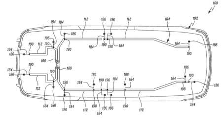
Y para ello, Tesla está buscando simplificar procesos de producción y abaratar los costes de fabricación del Model Y. Así, acaban de publicarse dos nuevas patentes registradas por la firma de coches eléctricos. Una de ellas es una máquina de fundición gigante, que permitirá confeccionar su chasis en una sola pieza y la otra una nueva arquitectura de cableado, que será de menor longitud en comparación al de sus hermanos.

Menores costes y tiempos de producción

La clave para que el Tesla Model Y tenga un precio asequible estará en su innovador proceso de fabricación

"Cuando obtengamos la gran máquina de fundición, se pasará de 70 partes a una con una reducción significativa en el gasto de capital en todos los robots para unir dichas partes", comentó a principios de año Elon Musk aludiendo a los procesos de fabricación del Model Y, según recoge Electrek.

La misma ya está proyectada y su registro como propiedad industrial en la Organización Mundial de la Propiedad Intelectual (OMPI o WIPO, por sus siglas en inglés) acaba de salir a la luz. Se trata de una enorme máquina "multidireccional" para fabricación de chasis monocasco, que permitirá la confección de la estructura completa, o casi completa, evitando tener diversas máquinas concibiendo las diferentes piezas del chasis para luego ensamblarlas mediante soldadura.

Tesla defiende que este método permitirá reducir los costes de fabricación (herramientas, robots, personal cualificado), así como el tiempo de producción y el impacto medioambiental derivado del proceso (fabricación, soldadura). De igual manera, este sistema también reducirá las máquinas de fundición necesarias para fabricar el chasis.

La clave para que el Tesla Model Y tenga un precio asequible estará en su innovador proceso de fabricación

Por otro lado, Tesla también ha registrado una nueva arquitectura de cableado, que permite tanto reducir los materiales (menos cable), así como facilitar los procesos automáticos para ensamblarlos. Con este sistema el cableado del Tesla Model Y se reduce a 100 metros de longitud, en comparación a los 1,5 kilómetros que miden los del Model 3 o los 3,0 kilómetros del Model S.

Según Tesla, además de reducir el cable necesario, esta arquitectura también acortará los tiempos de producción, lo que permitirá mejorar la productividad y dar salida a los modelos más rápidamente.

¿Qué sabemos del Tesla Model Y?

Tesla Model Y 115

El cuarto modelo de Tesla, con permiso del primigenio Roadster, es un todocamino eléctrico de siete plazas del que, por el momento y en cuanto a medidas, sólo conocemos su capacidad de carga: 1.868 litros, con los asientos abatidos.

De igual manera, el hermano pequeño del Tesla Model X, compartirá con este algunos elementos, como el techo solar panorámico o las tres filas de asientos, pero prescindirá de extravagancias como las puertas traseras de alas de gaviota.

Tesla Model Y 110

Cuatro serán las versiones que se lanzarán al mercado: Autonomía Estándar (la más barata), Gran Autonomía, Motor Dual (con tracción total) y Performance. Su autonomía oscila entre los 370 kilómetros y los 483 kilómetros, según variante, mientras que su velocidad máxima es de entre 193 km/h y 241 km/h y su aceleración (0-100 km/h) de entre 5,9 segundos y 3,5 segundos.

Al mercado español sólo llegaran las variantes Gran Autonomía, Motor Dual y Performance: las dos últimas en 2021, y la de mayor rango en 2022. Sus precios en el caso de nuestro país oscilarán entre los 56.980 euros de la opción Gran Autonomía y los 69.980 euros de la Performance.

Comentarios cerrados
Inicio