Volvo propone decir adiós al volante fijo creando coches con los mandos a la izquierda, la derecha o en el centro

Victoria Fuentes

Volvo publicó, hace unas semanas, una patente en la que describe una forma de mover el volante de un automóvil de un lado a otro, así como el grupo de instrumentos, lo que esencialmente permite que un coche pueda montar el volante a la izquierda a derecha, o incluso en una posición intermedia.

Almohadillas sensibles a la presión en vez de pedales

Este invento, que funcionaría a través de cables, está destinado a los coches autónomos del futuro (de momento seguimos en un nivel 2 de autonomía), de forma que, cuando sea necesario que el conductor asuma el control lo pueda hacer desde cualquier posición.

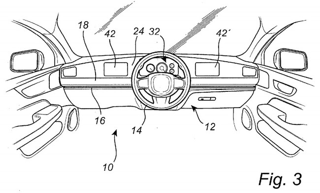
La patente describe un "vehículo que tiene múltiples posiciones de conducción" gracias a un volante que está montado en un riel que se extiende por todo el ancho de la cabina. Eso significa que el conductor puede sentarse en el lado izquierdo del automóvil, como en la mayoría de los países, o en el lado derecho, como en Australia, Inglaterra o Japón.

El cambio de marchas y los asientos también estarían montados sobre un riel para su desplazamiento.

Existe la posibilidad, incluso, de posicionar el puesto de conducción en el centro y de esconder el volante en el salpicadero cuando la atención del conductor -y el conductor en sí mismo- sea prescindible.

Esto responde a un ahorro de costos: es más barato diseñar un mecanismo de este tipo adaptable a cualquier coche, que un vehículo equipado con un sistema similar.

En cuanto a los pedales, Volvo cree que podrían ser reemplazados por almohadillas sensibles a la presión, sensores accionados hidráulica o neumáticamente, o algo diferente. De cualquier manera, se instalarían a lo largo del piso del vehículo y el sistema activaría automáticamente los que se encuentran en el lado en el que está el volante.

Por otro lado, hay dos opciones descritas para el grupo de instrumentos. La principal tiene una pantalla digital que se extiende a lo ancho del tablero -al estilo del fallido SUV eléctrico M-Byte- con cualquier espacio directamente detrás del volante que muestra la pantalla. Una segunda opción tiene una pantalla digital más pequeña montada en la columna de dirección que se moverá con el volante.

Es poco probable que veamos este invento en un coche de producción en los próximos años, pero sin duda es una buena solución no ya de cara a los coches autónomos, sino a aquellos que se comercializan en mercados que van desde el europeo hasta el británico.

En Motorpasión | ¿Respetarías los límites de velocidad si a cambio te pudiera tocar un premio? Suecia lo intentó con la lotería del radar

Ver todos los comentarios en https://www.motorpasion.com

VER 6 Comentarios